CKK ベローズ型伸縮管・伸縮可撓管とは
弁質などの構造物の出入り口や構造物から構造物、軟弱地の沈下対策などに 威力を発揮する継手です。

特徴
- 材質は鋼製構造により耐久性に優れ、主要部はステンレス製です。
- 曲げ・伸縮性能に優れ、地盤沈下や地震などの振動に対応可能。
また、沈下に伴う捩れを吸収できる構造にも可能です。 - 耐圧性、特に埋設用は土圧に十分な考慮がなされています。
安全ストッパーなどにより、必要以上の作動を抑える構造になっています。 - 取り付けに際しての細かい芯出しが不要です。
- 特殊な設計も鋼製構造により、容易に製作することが可能。
主な設置例
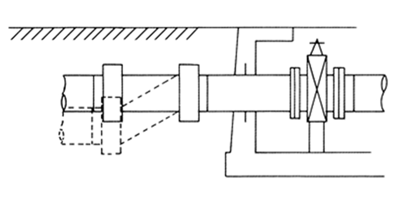
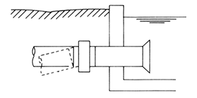
例1 弁室などの構造物の出入り口に。

タイプ:CKK-W CKH-W
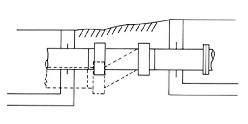
例2 構造物から構造物へ。

タイプ:CKK-W CKH-W
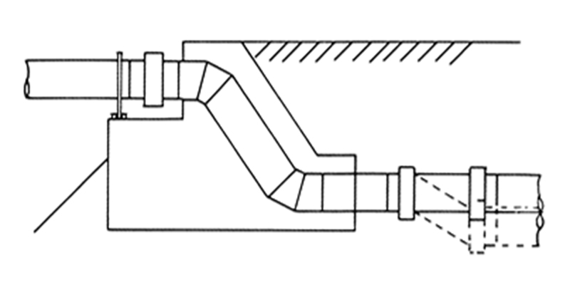
例3 気候変化による伸縮。構造物より軟弱地への沈下吸収に。

タイプ:CK CH CKK-W CKH-W
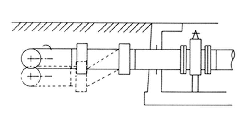
例4 軟弱地の沈下対策に。

タイプ:CKK-W CKH-W CKK-S CKH-S
例5 沈下動作に捩れを供なう場合に。

タイプ:RCKK-W RCKH-W
例6 沈下量の少ない場合など、耐震用として。

タイプ:CKK-S CKH-S